ログイン
検索
お問い合わせ
日本語
よく検索されるキーワード
製品一覧から探す
液体制御ユニット
ステンレスタンク
撹拌機
ディスペンサ
ハイバーポンプ
液体の調合・ろ過・撹拌・真空脱泡・温度調節・計量・供給を自動で行う制御ユニットです。移動式の小型ユニットのため、小ロット生産や研究開発用の設備としても有効です。
昇降ユニット
ステンレスタンクの蓋を安全に開閉することができる昇降ユニットです。大きな撹拌機を搭載した蓋は重量物となるため、取扱いに注意が必要です。
小瓶充填ユニット
直行型ロボットによるスピーディーな動作とハイバーポンプの正確な定量充填を自動で行うユニットです。
脱泡供給ユニット
液中の気泡除去(撹拌脱泡)をして、次工程(塗布工程)へ液体を供給するユニットです。2台のタンクで交互に脱泡処理を自動で行うため途切れることなく継続して次工程へ液体供給が可能です。
サポート
技術コラム
ユニコンLab - 液体制御について学ぶラボラトリー 一覧をみる >
重い蓋を安全に開け閉めするには!
高級な薬液を入れるタンクはここが違う!
【標準ステンレスタンクの選び方】~研磨タ...
企業情報
最新情報 一覧を見る >
上部に戻る
エア駆動
モーター駆動
高級な薬液を入れるタンクはここが違...
【標準ステンレスタンクの選び方】~...
資料請求
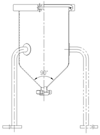
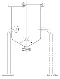
タンク底部に角度をつけることで、液が溜まりにくくなります。
製作イメージ中に入れる液体の性質に合わせて、角度を変えて製作できます。
ご希望に合わせて タンクをカスタムできます!
お客様にいただくご要望に全く同じ条件のものは少なく、毎回お客様ごとに提案・カスタマイズをしております。 アイデアレベルでも構いません。お客様のやりたいことが実現できるかどうか、まずはお気軽にご相談ください。